上海1314后花园水摩,全国24小时空降平台网站 ,同城空降服务,全国空降上门900城市100块约3小时上门人到付款

宁波市江北水表厂欢迎您!

农用灌溉水表

  • 产品型号:
  • 精度级别:B级或C级/R160
  • 品牌名称:甬诚/灵泉/JIANGBEI
  • 产品产地:浙江宁波
  • 生产厂家:宁波市江北水表厂
  • 询价热线:+86 133 3662 2678

产品详情

一、产品简介

  LXG-40~300, LXGR-40~30系列农用灌溉水表用于记录大流量管道的用水量,适用于单向水流的自来水、井水、河水、湖水灌溉,也可用于污水的计量,不宜测量有腐蚀性的液体,其生产标准为ISO4064(GB/T778-2007)。

二、产品特点

  1. 指示机构采用磁传结构,具有防磁干扰功能。

  2. 干式计数器,采用真空封装,可防冷凝雾化,长期保持清晰读数。

  3. 六位数加大数字字轮显示读数,读数更清楚。

  4. 可拆卸式计量机芯结构,不需要把水表的表壳从管道上拆下,更换维修方便。

  5. 被测水流方向为轴向水流,流通能力大,压力损失小,量程宽,抗水冲击和抗污染能力强。

  6. 农用灌溉水表适合用水量大且流量相对稳定的场合下使用。

  7.采用高耐磨轴承系统(航空仪表用宝石轴承+ 高耐磨硬质合金轴)确保产品长期稳定性和可靠性,显著提高水表的流量。

  8. 采用不锈钢紧固件及环氧树脂粉末壳体内外喷涂,有效防锈,延长产品使用寿命。

  9. 可选防撬?;ね庹帧?阻止用户私自拆开机芯,破坏或改动测量机构,有效起到防盗水作用)。

  10. 水表需要水平安装。

  11. 需外加过滤器。

  12. 水表的进水和出水口需要直管段。

  13. 可适用于冷水≤50℃或者热水≤90℃。

  14. 水压≤1MPa,1.6MPa。

  15. 农用灌溉水表可根据用户要求增加远传脉冲输出功能。

三、流量技术参数

ISO4064 :2003(老标准)参数表
公称口径 DN计量等级最大流量 Qs常用流量 Qp分界流量 Qt最小流量 Qi最小读数最大读数
mmRm3/hm3
40A201010.40.0002999999
50A30154.51.20.0002999999
65A50257.520.0002999999
80A8040123.20.002999999
100A12060184.80.002999999
125A2001003080.002999999
150A30015045120.002999999
200A50025075200.002999999
250A800400120320.002999999
300A1200600180480.029999999
ISO4064:2005(新标准)参数表
公称口径 DN计量等级过载流量 Q?常用流量 Q?分界流量 Q?最小流量 Q?最小读数 Min最大读数 Max
mmRm3/hm3
402020163.20.80.0002999999
502031.252551.250.0002999999
65205040820.0002999999
802078.76312.63.150.002999999
100201251002050.002999999
125202001603280.002999999
15020312.52505012.50.002999999
2002050040080200.002999999
2502078763012631.50.002999999
3002012501000200500.029999999

四、最大允许误差

 ?、俚颓?Q?≤Q<Q?)最大允许误差为±5%

 ?、诟咔?Q?≤Q≤Q?)最大允许误差为±2%

农用灌溉水表流量误差曲线图
农用灌溉水表流量误差曲线图

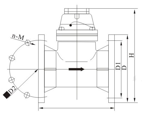
六、外形及规格尺寸

农用灌溉水表外形尺寸图及规格参数表
农用灌溉水表外形尺寸图
公称口径 DN长 L高 H法兰外径 D螺栓孔中心圆直径 D1法兰螺栓
mmnxd
402002531651254xM16
502002531651254xM16
652002681851454xM16
802252842001608xM16
1002502952201808xM16
1252503102502108xM16
1503003392852408xM20
2003503823402958xM20
25040043339535012xM20
30045048344540012xM20
上一页:垂直螺翼式水表 下一页:复式水表